设为首页
加入收藏
机械效率的教学设计示例1
一、教具
滑轮、钩码、线、弹簧秤、铁架台、刻度尺.
二、教学过程
一、引入新课
1.提问:功的原理是什么?
2.演示(按图1装置)并提问.
用图1的滑轮来提升重5N的物体,理论上在细绳端需要加多大的拉力?要求一名学生板演,(省一半力,应为2.5N)
问:实际上F=2.5N行不行,为什么?
问:怎样能知道F实际是多大?(实验测量——实践是检查真理的唯一标准)(肯定实际上F>2.5N)
问:实际使用动滑轮提升重物时,人所做的功与直接提升重物所做的功相比较,大小如何?这与功的原理是否矛盾?(不矛盾,功的原理说使用机械不省功)
问:我们希望上述两个功越接近越好还是差距越大越好?(引入新课)
二、进行新课
1.有用功、额外功和总功
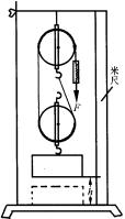
(1)演示实验:用弹簧秤匀速拉动绳端,使重物G升高.从弹簧秤读出拉力F的值,用刻度尺测出重物提升的高度h和弹簧秤移动的距离s.以下边讲边板书:
“实验数值G=5N,h=0.5m,F=3N,s=1m.
弹簧秤的拉力(动力)对动滑轮做的功:W2=F·s=3N×1m=3J,
直接用手提高重物同样的高度需要做的:W1=G·h=5N×0.5m=2.5J”
(2)提问:由实验可以看到W2>W1,这是为什么?
学生回答,教师总结:实际上,我们用动滑轮等简单机械提升重物时,由于要克服摩擦以及不得不把动滑轮一起提升,这时我们用的力(动力)就比重物重力的一半还要大(该实验中,理想情况下拉力是2.5N,而实际的拉力是3N).做的功要比直接提升重物所做的功大一些(该实验中,直接提升重物所做的功是2.5J,而实际动力对滑轮做的功是3J).
(3)总结并边讲边板书
①在用动滑轮提高重物的实验中,用来提高物体的功对我们是有用的,是必须做的.
板书:“1.有用功(W有用):利用机械工作时对人们有用的功叫有用功”(注意,本节标题暂不出)
问:本实验中的有用功是多少?答:W有用=G·h=5N×0.5m=2.5J.
②本实验中,用来克服摩擦及把动滑轮和绳子提升做的功对我们没有用,但又不得不做的功,这种功叫额外功.使用任何实际机械做额外功是不可避免的.
板书:“2.额外功(W额外):对人们没有用,但又不得不做的功叫做额外功”
③有用功加额外功是动力对机械总共做的功,叫总功.
板书:“3.总功(W总):有用功与额外功的总和叫总功”
问:本实验中总功W总=?
答:W总=F·s=F·2h=3N×1m=3J.
问:本实验中做的额外功是多少?
答:W额外=W总-W有用=3J-2.5J=0.5J.
2.机械效率
问:根据以上实验,你能算出有用功在总功中占的百分比吗?
学生演算,答出计算过程和结果.
答:83.3%.
教师小结并板书:“4.机械效率:有用功跟总功的比值叫机械效率”
板书:补写本节标题:“三、机械效率”
有用功总小于总功,所以机械效率总小于1”
教师指出:表示机械效率的字母的读音.机械效率一般用百分数表示,没有单位.
问:某起重机的机械效率是70%,它表示什么意思?
答:使用起重机提升重物时所做的有用功跟总功的比值是70%,也可以说有用功在总功中占有70%,另30%做的是额外功.
3.提高机械效率的意义及方法举例
阅读课本提高机械效率一段,小结要点,指出采取减小额外功所占比重是提高机械效率的有效方法.
三、巩固练习
例题:用图2所示滑轮组把重600N的货物匀速提高2m,所用的拉力是375N,求总功、有用功和这个滑轮组的机械效率.
要求学生板演,教师讲评.
教师小结:解答这类问题首先要认真审题,弄清已知条件.其次要注意,用滑轮组提起货物的高度与人把绳子末端拉下的距离之间的关系.还要分清总功和有用功.总功是人利用滑轮组提升货物时总共做的功,也就是人拉绳子的力做的功(或说动力对滑轮组做的功),即如果不用机械直接把重物提升相同高度所做的功.计算时,功(W总)=拉力(F)×绳端所通过的距离(s).有用功是指滑轮组克服货物所受重力竖直升高所做的功,计算时,有用功(W有用)=F·s.因为货物匀速上升,所以滑轮组对货物拉力的大小等于货物重,即F=G.货物提升的高度s用字母h表示(要与动力通过的距离s加以区分).所以,有用功(W有用)=货物重(G)×货物提升的高度(h).
应该指出,在涉及机械效率问题时,功的原理也是适用的.使用机械时仍不省功,而且还要不可避免地做额外功.
机械效率教学设计示例2
一、教具准备
演示实验器材:1.木板一块(60cm×90cm带有等距离为10cm的水平直线).2.铁制滑轮2个.3.物体一个(2N).4.演示用弹簧秤一个 5.线绳
学生实验器材:1.铁架台一个 2.滑轮4个.3.弹簧秤一个 4.米尺一个.5.斜面小车一套(顶端带是滑轮)
其它器材:1.投影幻灯一台 2.活动投影片.3.投影软片
二、教学步骤
1.复习引入
(l)上节课我们知道使用理想机械不能省功,而用自重和摩擦较大的机械做功,因
,所以同样不能省功.
(2)为什么利用机械做的功大于不用机械直接用用做的功呢,这节课我们带着这个问题来研究新的内容.
2.新课教学
第三节 机械效率(板书)
(一)演示实验一(重复上节第四个实验)
请一同学到讲台用弹簧秤将重2N的物体匀速提升0.2m过程中读数
N,测出动力作用点移动的距离
m(各部分摩擦力较小)
(1)当把物体提升0.2m,作功为
(板书)
(2)用滑轮组提升,实际做了多少功?
(板书)
同学们想想,什么原因是使这两个功不相等?用滑轮组做功更多了?
作用在绳子末端的力大了,因为动滑轮受重力,提升物体的同时还要把动滑轮提上去.
绳和滑轮之间还有摩擦,也需要做功.
提升物体做的功是我们需要做的,是有用功,但有时不得不将动滑轮也提上去.此外还要克服绳与滑轮间的摩擦做功等等,这部分功是我们不需要,但又不得不做的功,是额外功;弹簧秤拉力做的功
是总功,三者间的关系是什么呢?
秤的滑轮重为1N,提升的滑轮做功
(板书)
有用功 对人们有用的功(
)
额外功 人们不需要但又不得不做的功(
)
总功 有用功与额外功的总和(
)
请大家打开课本看P220页中的三幅图,如果
让你把重100N的砂子运上三楼,你会选图中三种办法中的哪一种呢?
你一是会选第三幅图中采用的方法,这种办法好在哪里呢?下面我们通过实验一起探讨.
(二)学生分组实验
学生分成左、右两部分,左边学生做滑轮组实验,右边同学做斜面实验.(并进式)
记录数据表(表格用投影片)
(制成可活动投影片,将实验步骤过程要求交待清楚)
(1)实验内容A、B组均将
的物体提升到0.2m高度.
A组——利用滑轮组测定有用功、总功.
B组——利用较光滑斜面测定有用功、总功.
(2)实验装置如上A、B(活动投影片)
(3)实验数据记录,(画在投影片上)将测量值填入表内.
(4)讨论
A、B组同学做的有用功相同吗?多大?
相同
你们提弹簧秤做的功是有用功,还是总功?大小相同吗?
是总功,大小不相同.
哪个组的同学,实验过程中,没有做额外功?额外功可以避免吗?
没有,额外功是不可避免的.
我们使用机械做功时,希望有用功在总功中占的比例越大越好,还是越小越好?
越大越好,有用功在总功中占的比值越大,表明有用功与总功越接近,额外功越少.
在使用机械时,我们最关心的是所做了这些总功中,有用功究竟占多少,因此,我们就用有用功在总功中占的比值来表示该种机械对总功的利用率高低.这标志着机械的性能,为此我们引入一个新的物理量,叫机械效率.
请打开书P221页,朗读一遍.
机械效率(
)有用功跟总功的比值
公式
请各组同学计算你所用简单机械的效率填入表内
由计算结果可知
机械效率为百分数,没有单位.
(5)讨论
为什么各组的机械效率值没有大于1的?
因有用功总小于总功,所以机械效率不可能大于1
机械效率永远小于1
(三)学生分组实验(分两部分)
(1)实验内容
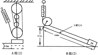
A组同学用二动二定组成的滑轮组将重2N物体升高0.2m,测有用功、总功、机械效率.
B组用铺毛巾的斜面,使2N物体升高0.2m
测出有用功、总功和机械效率
(2)实验装置如图

(3)将测量值填入表格中
(4)思考与讨论
将投影片A组(1)、A组(2)实验装置比较后.
1.一动一定滑轮组和两动两定滑轮组提起同样重的物体升高相同高度,哪个省力哪个机械效率高?
一动一定滑轮组由3段绳子承担总重,两动两定滑轮组由5段绳子承担总重,所以,实验装置A组(2)更省力.
因两动两定滑轮组在提升物体时要提起两个动滑轮,一动一定滑轮组提升物体时只需同时提升一个动滑轮.有用功相同时,两动两定滑轮组的总功多一些,所以它的效率更低些.
当其它条件不变时,增大斜面的摩擦力,机械效率怎么改变?
学完机械效率后,你对功的原理是怎样理解的?
使用机械人们所做的功,都等于不用机械而直接用手所做的功,这是对理想机械而言
而出现的结果,不省功也不费功.而实际操作时,由于机械自重和摩擦,不能省功还会费功.而
例 用一动滑轮将重200N的砂子提到9m高的脚手架上,所用力是120N,求有用功、总功机械效率各是多少?(已知、求略)
解

现在我们再看P220页的三幅图,请分别计算出三种办法中的有用功、总功为机械效率,并(出示投影片)将结果填入下表.
由此可见,三种办法中第三种为什么最好?因为机械效率最高.
练习:
下面说法中正确的画√,错误的画×.
1.有用功越多,机械效率越高( )
2.额外功越少,机械效率越高( )
3.物体做功越慢,机械效率越低( )
4.做总功越多,机械效率越低( )
5.做相同的有用功,额外功越少,机械效率越高( )
6.做相同的总功时,有用功越多,机械效率越高( )
7.用不同的滑轮组,做的有用功相同时,机械效率一定相同( )
8.因为有用功总小于总功,所以机械效率总小于1( )
9.做的额外功一定时,总功越少,机械效率越高( )
10.有用功在总功中占的比例越大,机械效率越高.( )
(四)总结
不同的机械的机械效率相同吗?
省力更多的机械,机械效率一定高吗?
同种机械的机械效率一定相同吗?
通过实验,大家想想怎样才能提高机械效率?
减小机械自重,实验A组(2)就是因动滑轮太重,使二动二定滑轮组很低,换用较轻滑轮就可提高其机械效率.
还可以减小机械间的摩擦力.
除机械有效率问题,现代社会中,我们的日常生活中,也是时时处处都要求高效率,达到事半功倍的效果,目前我们面临的是如何提高学习效率,请大家思考.
三、布置作业
1.看书P220-P222
2.P222练习
3.思考P222想想议议,在下节课说出你的观点.
四、板书设计
第三节 机械效率
(1)
(2)
有用功 对人们有用的功(
)
额外功 人们不需要但又不得不做的功(
)
总功 有用功与额外功的总和(
)
机械效率定义 有用功跟总动的比值
公式
∴
永远小于1
如何提高机械效率